BMW patenta unos tornillos con la forma de su logotipo y abre un incómodo debate
Quien haya trabajado en una BMW moderna en la última década habrá reparado en un detalle tan pequeño como significativo: las letras “BMW” grabadas en las cabezas de muchos tornillos. Sin duda, era un gesto casi simbólico, una forma de recordar que incluso los elementos más humildes formaban parte de un conjunto cuidado al milímetro. Además, aquellos tornillos no complicaban la vida a nadie, ya que utilizaban perfiles estándar como Torx o Allen, compatibles con las herramientas habituales de cualquier garaje.
Pero, como os estamos contando, ese equilibrio entre identidad de marca y practicidad podría romperse pronto. Sí, BMW ha registrado recientemente un nuevo perfil de arrastre cuya forma reproduce el logotipo de la marca.

El objetivo declarado en la patente es claro y conciso: “… limitar la manipulación de determinadas uniones roscadas a un grupo restringido de personas, capaces de aflojarlas o apretarlas únicamente con una herramienta específica”.
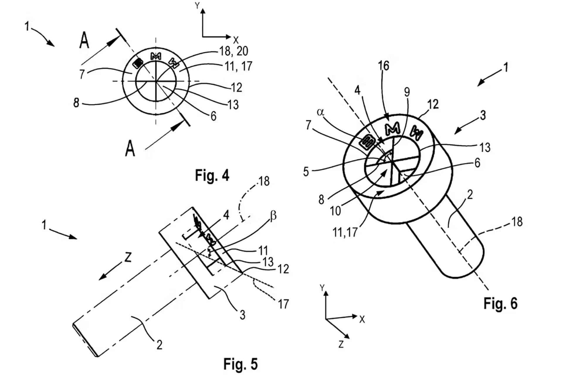
¿Cómo es el nuevo tornillo de BMW?
El diseño del nuevo tornillo nos recuerda a una especie de hélice formada por dos segmentos circulares, similares a porciones de tarta. La herramienta necesaria para accionarlo replica esa geometría, lo que hace imposible su uso con llaves convencionales. Además, BMW no se queda en una única variante: el registro contempla cabezas cilíndricas, lenticulares e incluso avellanadas, estas últimas con una complejidad aún mayor y un claro enfoque hacia la seguridad antimanipulación.

Desde el punto de vista técnico, nos surgen dudas razonables sobre su capacidad para soportar pares de apriete elevados. Como todos sabemos, los perfiles Torx o Allen nacieron precisamente para transmitir grandes esfuerzos con cabezas compactas y un reparto de cargas eficiente.
En el caso del nuevo perfil tipo hélice, las superficies de contacto parecen reducidas y relativamente lisas, lo que limita la fuerza que puede transferirse desde la herramienta al tornillo. Todo apunta a que no están pensados para componentes estructurales ni críticos.
Por ese motivo, lo más probable es que BMW reserve este tipo de tornillería para elementos ligeros y visibles, como carenados, tapas o piezas de acabado. Componentes que no requieren grandes pares de apriete, pero que sí pueden beneficiarse de una protección adicional frente a manipulaciones indebidas o robos de piezas.

Aquí es donde aparece la controversia. Para el aficionado a la mecánica, estrenar herramientas nuevas tiene cierto encanto, o no… Sin embargo, verse obligado a comprar una llave específica para intervenir en apenas unos pocos tornillos no resulta especialmente atractivo. Eso es seguro. La percepción cambia todavía más si esos tornillos empiezan a aparecer en zonas que tradicionalmente formaban parte del mantenimiento básico que muchos usuarios realizan en casa.
Todo dependerá, en última instancia, de cómo BMW decida aplicar este sistema y de qué entienda por “grupo restringido de personas”. Muchos propietarios de la marca se consideran a sí mismos parte de ese grupo, al menos en lo que respecta a tareas sencillas de mantenimiento.

Si el nuevo tornillo se limita a operaciones profundas y muy específicas, su uso podría tener sentido. Si no, el riesgo es que se perciba como una barrera artificial destinada a reforzar la dependencia del taller oficial.
Como vemos, un detalle aparentemente menor, como un tornillo, vuelve así a demostrar que en la moto moderna nada es casual. Y que incluso una pequeña cabeza metálica puede convertirse en el centro de un debate sobre acceso, propiedad y libertad.


